产品概述
单口排气阀用于管路上的较高点或有闭气的地方,排除管内的气体来疏通管道,达到正常工作,如不装排气阀,管内流动的液体会产生动热引起气体.形成短路,使管道出水容易达不到要求。其次,管道运转转时出现停电、停泵管道就会出现负压力,而会引起管道振动或破裂,(排)吸气阀就迅速把空气吸入管肉,防止管道振动或破裂。单口排气阀有二种连接方式,丝扣、法兰。
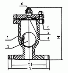
工作原理
单口排气阀主要由阀体、阀门、上盖、阀杆、浮球、排气嘴等组成。当需要排出管道内的气体时,管道内的空气在水的压强作用下进入体腔内,并从排气嘴排出,随之管道内的水充满体腔内,使浮球在水的浮力作用下,向上移动将排气嘴堵塞,达到自行密封,管道在正常行中,水中的空气在压强的作用下,不断排入排气阀的体腔上部,迫使浮球下降,离开原来密封位置,这时空气又从排气嘴排出,随之,浮球又恢复到原来位置自密封,因此,排气阀在正常工作中阀门始终是开着的,浮球不断重复上述动作,空气不断排出。当需要检修或清扫体腔时,应将阀门关闭。单口排气阀,顺时针旋转阀杆时为关闭。

连接尺寸
|
螺纹 |
规格 |
ZG |
Φ |
H |
法兰 |
规格 |
D |
D1 |
Φ |
H |
|
20 |
3/4" |
135 |
205 |
20 |
105 |
75 |
135 |
210 |
||
|
25 |
1" |
135 |
205 |
25 |
115 |
85 |
135 |
210 |
||
|
40 |
1 1/2" |
150 |
205 |
40 |
145 |
115 |
150 |
210 |
||
|
50 |
2" |
150 |
205 |
50 |
160 |
125 |
150 |
210 |
随着经济高速发展,市场竞争越来越激烈,用户对阀门产品的要求也越来越多,并且对服务的要求也越来越高;我司销售部门为适应市场发展的要求,专业设立了服务培训组,为服务质量添加完善的工作,我司的售前、售中、售后服务工作经由专业的销售员来完成。
一、冠环阀门售前服务:
做到技术与销售的良好结合,让用户的每一次采购都有较好的服务体验。
①进行采购前产品技术沟通和交流,主动给予建议。
②在进行产品型号选择时考虑是否成本合理工矿效率等问题。
③不能达到工矿要求时,根据客户的特殊要求,安排设计师合理改善。
二、冠环阀门售中服务:
尊重每位用户;给用户一份省心,放心的整体价值服务。
①进行性价比:比价格,比质量,比服务,反思是否有不做到位的地方。
②严格按相关标准和技术要求进行阀门的检测和试验。
③在合作过程中,依照合同,保质保量准时交货,随时保持与用户联系。
④定制期间,相关技术人员可来我司进行产品监造和检验,同时,我司会提供该产品的结构图及详细文件资料,来做监造文件。
⑤对特殊工矿或定做的产品,可协商专业技术员亲临现场指导。
⑥我公司在发货前以电话进行产品型号、口径、数量、件数的确认。
三、冠环阀门售后服务:
好的服务铸就好的企业让客户无后顾之忧。
①按合同要求提供产品的合格证、检验报告、安装说明书等。
②顾客在验收产品过程中,如出现与合同要求不符时,我司接到顾客通知后两小时内给予处理。
③我司提供十二个月的产品质保期,时间从验收合格之日起计算。
④在正确安装和使用下,出现产品质量问题,本公司将负责到底。
冠环阀门包修包换承诺:
①在正常的储运、安装、保养、使用条件下,因产品的质量问题不能正常使用时,提供三保四包: 保质、保量、保及时、包修、包换、包退、包损失。
②在接到质量信息反馈时,将在24小时内提出处理意见,并做到100小时内赶到现场做处理。
③可根据用户需求协商提供备品、备件和安装、调试、维修服务。
为了让您采购到满意的阀门,减少阀门订购过程出现的问题,也是提高我们工作人员的工作效率。我们希望您提供详尽的订货需求,以便我们为您提高更周到的服务!
阀门订货说明:
1、①产品名称与型号,②公称直径,③阀体材质,④公称压力,⑤使用介质,⑥使用温度,⑦驱动方式,⑧是否带附件,以便我们的为您正确选型。
2、如有特殊要求时请在订购产品时注明。
3、若已经由设计单位选定的型号,请按型号直接向我司销售部订购。
4、当使用的场合非常重要或环境比较复杂时,请您尽量提供设计图。
欢迎您访问我们的网站,如有任何疑问,您可以致电给我们,我们一定会尽心尽力为您提供高品质的服务,详细咨询:15000098987。

我要咨询

































021-67895388
shghfmc@163.com
93862333